![]() |
| Penjadualan Proses |
Penjadualan Antrian
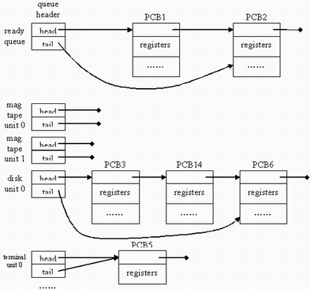
Ketika proses memasuki sistem, mereka diletakkan dalam antrian job. Antrian ini terdiri dari seluruh proses dalam sistem. Proses yang hidup pada memori utama dan siap dan menunggu/ wait untuk mengeksekusi disimpan pada sebuah daftar bernama ready queue. Antrian ini biasanya disimpan sebagai daftar penghubung. Sebuah header ready queue berisikan penunjuk kepada PCB-PCB awal dan akhir. Setiap PCB memiliki pointer field yang menunjukkan proses selanjutnya dalam ready queue.Juga ada antrian lain dalam sistem. Ketika sebuah proses mengalokasikan CPU, proses tersebut berjalan/bekerja sebentar lalu berhenti, di interupsi, atau menunggu suatu kejadian tertentu, seperti penyelesaian suatu permintaan I/O. Pada kasus ini sebuah permintaan I/O, permintaan seperti itu mungkin untuk sebuah tape drive yang telah diperuntukkan, atau alat yang berbagi, seperti disket. Karena ada banyak proses dalam sistem, disket bisa jadi sibuk dengan permintaan I/O untuk proses lainnya. Maka proses tersebut mungkin harus menunggu untuk disket tersebut. Daftar dari proses yang menunggu untuk peralatan I/O tertentu disebut sebuah device queue. Tiap peralatan memiliki device queuenya sendiri (Lihat Gambar 2-4).
![]() |
| Gambar 2-4. Device Queue. Sumber |
Reprensentasi umum untuk suatu diskusi mengenai penjadualan proses adalah diagram antrian, seperti pada Gambar 2-5. Setiap kotak segi empat menunjukkan sebuah antrian. Dua tipe antrian menunjukan antrian yang siap dan suatu perangkat device queues. Lingkaran menunjukkan sumber-sumber yang melayani sistem. Sebuah proses baru pertama-tama ditaruh dalam ready queue. Lalu menunggu dalam ready queue sampai proses tersebut dipilih untuk dikerjakan/lakukan atau di dispatched. Begitu proses tersebut mengalokasikan CPU dan menjalankan/ mengeksekusi, satu dari beberapa kejadian dapat terjadi.
- Proses tersebut dapat mengeluarkan sebuah permintaan I/O, lalu di tempatkan dalam sebuah antrian I/O.
- Proses tersebut dapat membuat subproses yang baru dan menunggu terminasinya sendiri.
- Proses tersebut dapat digantikan secara paksa dari CPU, sebagai hasil dari suatu interupsi, dan diletakkan kembali dalam ready queue.
![]() |
| Gambar 2-5. Diagram Anrian. Sumber |
Dalam dua kasus pertama, proses akhirnya berganti dari waiting state menjadi ready state, lalu diletakkan kembali dalam ready queue. Sebuah proses meneruskan siklus ini sampai berakhir, disaat dimana proses tersebut diganti dari seluruh queue dan memiliki PCB nya dan sumber-sumber/ resources dialokasikan kembali.
Penjadual
Sebuah proses berpindah antara berbagai penjadualan antrian selama umur hidupnya. Sistem operasi harus memilih, untuk keperluan penjadualan, memproses antrian-antrian ini dalam cara tertentu. Pemilihan proses dilaksanakan oleh penjadual yang tepat/ cocok. Dalam sistem batch, sering ada lebih banyak proses yang diserahkan daripada yang dapat dilaksanakan segera. Proses ini dipitakan/ disimpan pada suatu alat penyimpan masal (biasanya disket), dimana proses tersebut disimpan untuk eksekusi dilain waktu. Penjadualan long term, atau penjadual job, memilih proses dari pool ini dan mengisinya kedalam memori eksekusi.
Sebuah proses dapat mengeksekusi untuk hanya beberapa milidetik sebelum menunggu permintaan I/O. Seringkali, penjadualan shorterm mengeksekusi paling sedikit sekali setiap 100 milidetik. Karena durasi waktu yang pendek antara eksekusi, penjadualan shorterm haruslah cepat. Jika memerlukan 10 mili detik untuk menentukan suatu proses eksekusi selama 100 mili detik, maka 10/(100 + 10) = 9 persen CPU sedang digunakan (terbuang) hanya untuk pekerjaan penjadualan.
Penjadualan longterm pada sisi lain, mengeksekusi jauh lebih sedikit. Mungkin ada beberapa menit antara pembuatan proses baru dalam sistem. Penjadualan longterm mengkontrol derajat multiprogramming (jumlah proses dalam memori). Jika derajat multiprogramming stabil, lalu tingkat rata-rata dari penciptaan proses harus sama dengan tingkat kepergian rata rata dari proses yang meninggalkan sistem. Maka penjadualan longterm mungkin diperlukan untuk dipanggil hanya ketika suatu proses meninggalkan sistem. Karena interval yang lebih panjang antara eksekusi, penjadualan longterm dapat memakai waktu yang lebih lama untuk menentukan proses mana yang harus dipilih untuk dieksekusi.
Adalah penting bagi penjadualan longterm membuat seleksi yang hati-hati. Secara umum, kebanyakan proses dapat dijelaskan sebagai I/O bound atau CPU bound. Sebuah proses I/O bound adalah salah satu yang membuang waktunya untuk mengerjakan I/O dari pada melakukan perhitungan. Suatu proses CPU-bound, pada sisi lain, adalah salah satu yang jarang menghasilkan permintaan I/O, menggunakan lebih banyak waktunya melakukan banyak komputasi daripada yang digunakan oleh proses I/O bound. Penting untuk penjadualan longterm memilih campuran proses yang baik antara proses I/O bound dan CPU bound. Jika seluruh proses adalah I/O bound, ready queue akan hampir selalu kosong, dan penjadualan short term akan memiliki sedikit tugas. Jika seluruh proses adalah CPU bound, I/O waiting queue akan hampir selalu kosong, peralatan akan tidak terpakai, dan sistem akan menjadi tidak imbang. Sistem dengan kinerja yang terbaik akan memiliki kombinasi proses CPU bound dan I/O bound.
![]() |
| Gambar 2-6. Penjadual Medium-term. Sumber |
Pada sebagian sistem, penjadual long term dapat tidak turut serta atau minimal. Sebagai contoh, sistem time-sharing seperti UNIX sering kali tidak memiliki penjadual long term. Stabilitas sistem-sistem ini bergantung pada keterbatasan fisik (seperti jumlah terminal yang ada) atau pada penyesuaian sendiri secara alamiah oleh manusia sebagai pengguna. Jika kinerja menurun pada tingkat yang tidak dapat diterima, sebagian pengguna akan berhenti.
Sebagian sistem operasi, seperti sistem time sharing, dapat memperkenalkan sebuah tambahan, penjadualan tingkat menengah. Penjadual medium-term ini digambarkan pada Gambar 2-5. Ide utama/kunci dibelakang sebuah penjadual medium term adalah kadang kala akan menguntungkan untuk memindahkan proses dari memori (dan dari pengisian aktif dari CPU), dan maka untuk mengurangi derajat dari multiprogramming. Dikemudian waktu, proses dapat diperkenalkan kedalam memori dan eksekusinya dapat dilanjutkan dimana proses itu di tinggalkan/ diangkat. Skema ini disebut swapping. Proses di swapped out, dan lalu di swapped in, oleh penjadual jangka menengah. Swapping mungkin perlu untuk meningkatkan pencampuran proses, atau karena suatu perubahan dalam persyaratan memori untuk dibebaskan. Swapping dibahas dalam Bagian 4.2.
Alih Konteks
Mengganti CPU ke proses lain memerlukan penyimpanan suatu keadaan proses lama (state of old process) dan kemudian beralih ke proses yang baru. Tugas tersebut diketahui sebagai alih konteks (context switch). Alih konteks sebuah proses digambarkan dalam PCB suatu proses; termasuk nilai dari CPU register, status proses (lihat Gambar 2-7). dan informasi managemen memori. Ketika alih konteks terjadi, kernel menyimpan konteks dari proses lama kedalam PCB nya dan mengisi konteks yang telah disimpan dari process baru yang telah terjadual untuk berjalan. Pergantian waktu konteks adalah murni overhead, karena sistem melakukan pekerjaan yang tidak perlu. Kecepatannya bervariasi dari mesin ke mesin, bergantung pada kecepatan memori, jumlah register yang harus di copy, dan keberadaan instruksi khusus (seperti instruksi tunggal untuk mengisi atau menyimpan seluruh register). Tingkat kecepatan umumnya berkisar antara 1 sampai 1000 mikro detik.![]() |
| Gambar 2-7. Alih Konteks. Sumber |
Waktu alih konteks sangat begantung pada dukungan perangkat keras. Sebagai contoh, prosesor seperti UltraSPARC menyediakan dua rangkap register. Sebuah alih konteks hanya memasukkan perubahan pointer ke perangkat register yang ada. Tentu saja, jika ada lebih proses-proses aktif yang ada dari pada yang ada di perangkat register, sistem menggunakan bantuan untuk meng-copy data register pada dan dari memori, sebagaimana sebelumnya. Semakin sistem operasi kompleks, makin banyak pekerjaan yang harus dilakukan selama alih konteks. Sebagaimana dilihat pada Bab 4, teknik managemen memori tingkat lanjut dapat mensyaratkan data tambahan untuk diganti dengan tiap konteks. Sebagai contoh, ruang alamat dari proses yang ada harus dijaga sebagai ruang pada pekerjaan berikutnya untuk digunakan. Bagaimana ruang alamat di jaga, berapa banyak pekerjaan dibutuhkan untuk menjaganya, tergantung pada metoda managemen memori dari sistem operasi. Sebagaimana akan kita lihat pada Bab 4, alih konteks telah menjadi suatu keharusan, bahwa programmer menggunakan struktur (threads) untuk menghindarinya kapan pun memungkinkan.
![]() |
| Gambar 2-8. Pohon Proses. Sumber |
Sumber
Sistem Operasi: Bahan Kuliah IKI-20230
oleh Gabungan Kelompok Kerja 21–28 IKI-20230 Semester Genap 2002/2003
$Revision: 1.3.0.0 $ Edisi
Diterbitkan 30 September 2003
Copyright (Hak Cipta) © 2003 oleh Gabungan Kelompok Kerja 21–28 IKI-20230 Semester Genap 2002/ 2003.
Silakan menyalin, mengedarkan, dan/ atau, memodifikasi bagian dari dokumen – $Revision: 1.3.0.0 $ – – yang dikarang oleh Gabungan Kelompok Kerja 21–28 IKI-20230 Semester Genap 2002/ 2003, sesuai dengan ketentuan "GNU Free Documentation License versi 1.1" atau versi selanjutnya dari FSF (Free Software Foundation); tanpa bagian "Invariant", tanpa teks "Front-Cover", dan tanpa teks "Back-Cover". Lampiran A ini berisi salinan lengkap dari lisensi tersebut. Ketentuan ini TIDAK berlaku untuk bagian dan/ atau kutipan yang bukan dikarang oleh Gabungan Kelompok Kerja 21–28 IKI-20230 Semester Genap 2002/ 2003.
Catatan Revisi
Revisi 1.3 30-09-2003 Revised by: RMS46
Revisi ini diedit oleh Rahmat M. Samik-Ibrahim: melanjutkan perbaikan tata letak dan pengindeksan.
Revisi 1.2 17-09-2003 Revised by: RMS46
Revisi ini diedit oleh Rahmat M. Samik-Ibrahim: melanjutkan perbaikan.
Revisi 1.1 01-09-2003 Revised by: RMS46
Revisi ini diedit oleh Rahmat M. Samik-Ibrahim: melakukan perbaikan struktur SGML, tanpa terlalu banyak mengubah isi buku.
Revisi 1.0 27-05-2003 Revised by: RMS46
Kompilasi ulang, serta melakukan sedikit perapihan.
Revisi 0.21.4 05-05-2003 Revised by: Kelompok 21
Perapihan berkas dan penambahan entity.
Revisi 0.21.3 29-04-2003 Revised by: Kelompok 21
Perubahan dengan menyempurnakan nama file.
Revisi 0.21.2 24-04-2003 Revised by: Kelompok 21
Merubah Kata Pengantar.
Revisi 0.21.1 21-04-2003 Revised by: Kelompok 21
Menambahkan Daftar Pustaka dan Index.
Revisi 0.21.0 26-03-2003 Revised by: Kelompok 21
Memulai membuat tugas kelompok kuliah Sistem Operasi.
Persembahan
Buku ini dipersembahkan dari Gabungan Kelompok Kerja 21–28 IKI-20230 Semester Genap 2002/
2003, oleh Gabungan Kelompok Kerja 21–28 IKI-20230 Semester Genap 2002/ 2003, untuk siapa saja yang ingin mempelajari Sistem Operasi. Tim penyusun buku ini ialah sebagai berikut:
Kelompok 21 (Koordinator)
Dhani Yuliarso, Fernan, Hanny Faristin, Melanie Tedja, Paramanandana D.M., Widya Yuwanda.
Kelompok 22 (Bab 1)
Budiono Wibowo, Agus Setiawan, Baya U.H.S., Budi A. Azis Dede Junaedi, Heriyanto, Muhammad
Rusdi.
Kelompok 23 (Bab 2)
Indra Agung, Ali Khumaidi, Arifullah, Baihaki A.S., Christian K.F. Daeli, Eries Nugroho, Eko Seno P., Habrar, Haris Sahlan.
Kelompok 24 (Bab 3)
Adzan Wahyu Jatmiko, Agung Pratomo, Dedy Kurniawan, Samiaji Adisasmito, Zidni Agni.
Kelompok 25 (Bab 4)
Nasrullah, Amy S. Indrasari, Ihsan Wahyu, Inge Evita Putri, Muhammad Faizal Ardhi, Muhammad Zaki Rahman, N. Rifka N. Liputo, Nelly, Nur Indah, R. Ayu P., Sita A.R.
Kelompok 26 (Bab 5)
Rakhmad Azhari, Adhe Aries, Adityo Pratomo, Aldiantoro Nugroho, Framadhan A., Pelangi, Satrio
Baskoro Y.
Kelompok 27 (Bab 6)
Teuku Amir F.K., Alex Hendra Nilam, Anggraini W., Ardini Ridhatillah, R. Ferdy Ferdian, Ripta
Ramelan, Suluh Legowo, Zulkifli.
Kelompok 28 (Bab 7)
Christiono H, Arief Purnama L.K., Arman Rahmanto, Fajar, Muhammad Ichsan, Rama P. Tardan, Unedo Sanro Simon.





